产品编码0103000083
信息发布方北京凌天
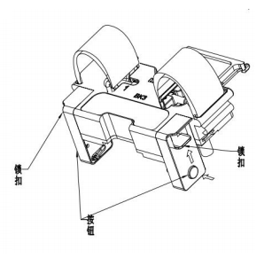
型号BK3(适配M3E/T系列)
产品商标
联系电话010-51652021 13370188210
促销价
浏览次数1216

| 1类别 | 2项目名称\荣誉称号\实力 (证书下载请点击超链接) | 3课题名称 |
| 获奖类 | 北京市诚信品牌企业 | |
| 平台类 | 中国灾害防御协会应急科技装备专委会 挂靠单位 | |
| 平台类 | 水利部科技推广中心防汛抢险无人化装备技术推广基地 | |
| 资格类 | 工业和信息化部专精特新“小巨人”企业 | |
| 资格类 | 北京市级企业科技研究开发机构 | |
| 资格类 | 辐射安全许可证 | |
| 资格类 | 医疗器械经营许可证(凌天制造) | |
| 资格类 | 民用无人机驾驶员训练机构合格证(北京凌天) | |
| 资格类 | 民用无人机企业服务能力等级资质证书(甲级) | |
| 平台类 | 中关村应急产业协同创新平台 | |
| 平台类 | 徐州市应急产业联合会 (徐州基地公司 作为牵头单位) | |
| 平台类 | 徐州市森林防火装备工程研究中心 (徐州基地公司 作为牵头单位) | |
| 资格类 | 北京市科协特种机器人( 智能控制 )企业创新联合体牵头单位 | |
| 资格类 | 北京亦庄开发区科学技术攻关先锋港 | |
| 入围类 | 水利先进实用技术重点推广指导目录 | 水面救援遥控机器人 |
| 资格类 | 北京市专精特新“小巨人”企业 | |
| 资格类 | 北京市高新技术企业 | |
| 资格类 | 北京市知识产权示范单位 | |
| 资格类 | 北京市重点应急企业 | |
| 奖项类 | 第三届安全科技进步奖二等奖 | 超大城市安全风险评估与监测预警关键技术研究 |
| 奖项类 | 中国自动化学会科学技术奖 | 成品油仓储经营环节风险检测与智慧防控关键技术与应用示范 |
| 奖项类 | 2019获得第一届安全科技进步奖 | 防爆消防灭火侦察机器人 |
| 奖项类 | 第二届安全科技进步奖二等奖 | 石化企业重特大安全生产事故应急处置辅助决策系统关键技术及装备 |
| 奖项类 | 第二届安全科技进步奖三等奖 | 应急救援快速部署监测系统 |
| 奖项类 | 中国灾害防御协会抗疫突出贡献奖 | |
| 奖项类 | 2015获得河南省工业和信息化科技成果奖 | 打钻防灭火装置 |
| 奖项类 | 河南省煤炭科技成果奖 | |
| 奖项类 | 第六届中国消防协会科学技术创新奖 | |
| 奖项类 | 第十二届中国消防协会科学技术创新奖 二等奖 | 加油站(库)风险精准监测与应急处置 关键技术与应用示范 |
| 奖项类 | 2018年“创新创业·惠民生优秀项目 |
红蓝警示抛投器是用于M3的专用装备。其功能包括红蓝爆闪灯、2段投器,设备采用轻量化设计,采用快装方式,挂载物可以通过挂钩,绑带方式安装,方便实用,可以配合其他设备完成复杂任务。

适用于无人机救援物资投放工作。
1.控制链路PSDK
2.底部无损安装
3.即插即用
4.异常状态报警
5.无电挂载
6.无电抛投